Ürün Detay

Adı :
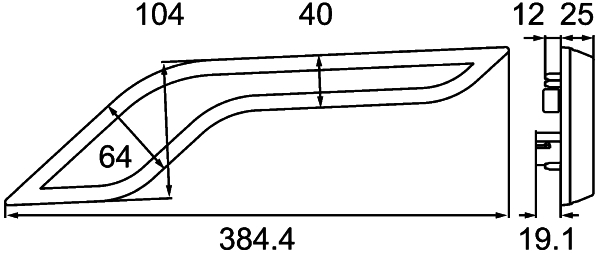
SİNYAL SOL SHAPELINE SERİSİ
Kodu :
HL.2 BA 013 333 031
Üretici :
HELLA